Kết quả nghiên cứu thiết kế, chế tạo một số thiết bị của hệ thống trục tải giếng đứng mỏ than hầm lò
Thông tin chung đề tài:
Tác giả: ThS. Đoàn Ngọc Cảnh
Đơn vị: Viện Khoa học Công nghệ Mỏ - Vinacomin
Nội dung chính của giải pháp/nghiên cứu
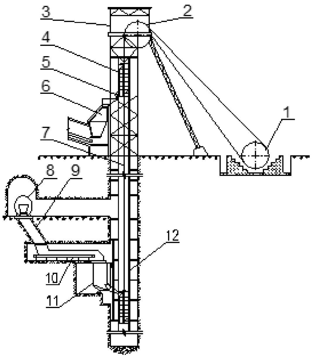
Lập bộ tài liệu thiết kế chế tạo tháp giếng và hệ puly dẫn cáp, thùng cũi khẩn cấp hai sàn, cốt giếng và hệ thống cấp dỡ tải cho cặp giếng đứng chính, phụ mỏ than hầm lò Núi Béo, gồm: Bộ bản vẽ chế tạo, thuyết minh tính toán thiết kế, các qui trình công nghệ chế tạo, vận chuyển, lắp đặt và kiểm tra an toàn sản phẩm đảm bảo chất lượng, có tính khoa học và mang tính thực tiễn cao;
Lần đầu tiên đơn vị sản xuất cơ khí trong nước đã chế tạo, lắp đặt thành công tháp giếng, cốt giếng và hệ thống cấp dỡ tải cho 2 giếng đứng với độ sâu hơn 400m, đáp ứng tiêu chí kỹ thuật khắt khe trong xây dựng giếng đứng mỏ hầm lò, dựa trên thiết kế trong nước. Đối với thùng cũi khẩn cấp hai sàn, sản phẩm có đặc tính kỹ thuật tương đương sản phẩm cùng loại nhập khẩu của nước ngoài, dù chưa được chế tạo, tuy nhiên, các đơn vị cơ khí trong nước hoàn toàn có thể theo tài liệu thiết kế đã lập, chế tạo thùng cũi cho các dự án giếng đứng khai thác hầm lò tương tự, làm tiền đề cho việc nghiên cứu, chế tạo các loại thùng cũi lớn và skip.
Mục tiêu giải pháp/nghiên cứu
Việc làm chủ công tác thiết kế, chế tạo trong nước hệ thống trục tải giếng đứng đem lại nhiều hiệu quả kinh tế, tận dụng nội lực trong nước thiết kế và phát triển nâng cao trình độ chế tạo cơ khí trong nước.
Chế tạo nội địa hóa một số thiết bị chính trong hệ thống trục tải giếng đứng, giúp các đơn vị sử dụng chủ động trong việc sửa chữa, thay thế thiết bị và tiết kiệm được lượng lớn chi phí khi phải nhập khẩu.
Kết quả nghiên cứu/giải pháp
Thông qua việc nghiên cứu thiết kế đã góp phần tạo đào tạo đội ngũ cán bộ nghiên cứu trong nước tiếp cận công nghệ mới, làm chủ thiết kế chế tạo thiết bị đặc thù của ngành khai thác mỏ; đồng thời góp phần phát triển ngành cơ khí trong nước, giảm phụ thuộc vào nước ngoài.
Các thiết bị trục tải giếng đứng có giá trị kinh tế rất lớn. Qua dự án KHCN đã giúp triển khai chế tạo nội địa hóa một số thiết bị chính trong hệ thống trục tải giếng đứng, giúp các đơn vị sử dụng chủ động trong việc sửa chữa, thay thế thiết bị và tiết kiệm được lượng lớn chi phí khi phải nhập khẩu.
Với việc nội địa hóa một phần thiết bị hệ thống trục tải theo dự án đã giúp các đơn vị trong nước thực hiện gói thầu thiết bị hơn 830 tỉ đồng. Trong đó, sản xuất cơ khí trong nước cung cấp sản phẩm chế tạo với giá trị hơn 200 tỉ đồng; cùng với đó, giảm được chi phí nhân công, vật tư, vận chuyển so với phương án nhập khẩu, góp phần giảm giá trị đầu tư gần 30% so với dự tính ban đầu của dự án.
Việc sản xuất, chế tạo các sản phẩm của hệ thống trục tải giếng đứng trong nước cũng tạo cơ hội việc làm cho các đơn vị sản xuất cơ khí trong nước. Với khối lượng công việc gia công chế tạo kết cấu, thiết bị cơ khí hơn 3.000 tấn thép (bao gồm cả chế tạo trong nước các hạng mục của hệ thống trục tải thuộc dự án không thuộc phạm vi đề tài), đã tạo công ăn việc làm cho hàng trăm công nhân sản xuất làm việc trong hai năm sản xuất chế tạo, lắp dựng thiết bị.
